[특허] 프리캐스트 전단벽과 기초의 연결구조의 시공방법
관리자
2023.12.19
1. 대표도

2. 발명의 명칭
프리캐스트 전단벽과 기초의 연결구조 및 시공방법
3. 출원일자 / 출원번호
10-2020-0166894 (2020.12.02)
4. 등록일자 / 등록번호
10-2556802 (2023.07.13)
5. 발명의 요약
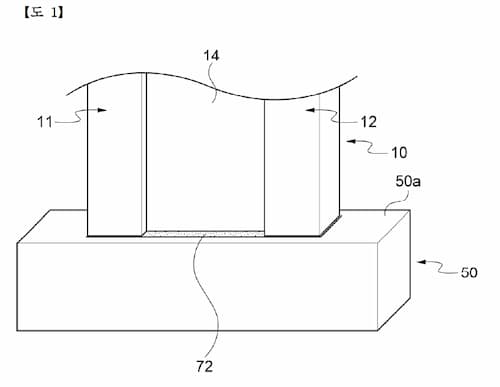
본 프리캐스트 전단벽과 기초의 연결구조는 수직벽에 의해 연결되는 제 1, 2 기둥을 갖는 프리캐스트 전단벽과 기초의 연결구조에 있어서, 전단벽은, 제 1 기둥에 매립된 복수의 제 1 매립철근, 수직벽에 의해 제 1 기둥과 이격된 제 2 기둥에
매립된 복수의 제 2 매립철근, 복수의 제 1, 2 매립철근에 각각 연결되어 복수의 제 1, 2 매립철근과 함께 제 1, 2 기둥 내부에 매립되는 복수의 제 1, 2 커플러를 포함한다. 기초는, 전단벽의 일부가 안착되도록 기초표면보다 오목하게 형성되는
설치표면을 갖는 설치부와, 설치표면으로부터 돌출되되, 복수의 제 1, 2 커플러와 대응되는 복수의 제 1, 2 삽입철근을 갖고, 기초에 매립되는 복수의 기초철근을 포함한다. 전단벽은 복수의 제 1, 2 커플러에 복수의 제 1, 2 삽입철근이 각각 결합
되어 기초에 설치되게 구성된다.
- 이전 글
- [특허]노래 반주 시스템 2024.01.09
- 다음 글
- 다음글이 없습니다.





