[특허] 용매 제거 장치 및 이를 이용한 미소구체 제조 방법
관리자
2024.01.09
[특허] 용매 제거 장치 및 이를 이용한 미소구체 제조 방법
1. 대표도

2. 발명의 명칭
용매 제거 장치 및 이를 이용한 미소구체 제조 방법{SOLVENT REMOVING APPARATUS AND METHOD OF MANUFACTURING MICROSPHERE USING THE SAME}
3. 출원번호 / 출원일자
4. 등록번호 / 등록일자
10-2283250 / 2021.07.23
5. 요약
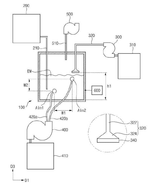
용매 제거 장치는 연속상의 제1 원료와 분산상의 제2 원료를 포함하는 에멀 젼이 수용되는 탱크 몸체, 상기 탱크 몸체의 내부로 유체를 공급하여, 상기 에멀젼 에 유동을 형성하는 유체 공급부, 및 상기 탱크 몸체의 내부의 기체를 상기 탱크의 외부로 배출시키는 배기부를 포함한다.
- 이전 글
- [특허] 미소구체 제조 시스템 2024.01.12
- 다음 글
- [특허] 파력 발전장치 2024.01.09





