[특허] 개별 신선 냉동(Individual Fresh Frozen)을 이용한 닭고기 냉동 방법 및 장치
[특허] 개별 신선 냉동(Individual Fresh Frozen)을 이용한 닭고기 냉동 방법 및 장치
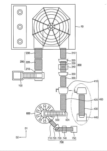
1. 대표도

2. 발명의 명칭
개별 신선 냉동(Individual Fresh Frozen)을 이용한 닭고기 냉동 방법 및 장치{METHOD AND APPARATUS FOR FREEZING CHICKEN USING INDIVIDUAL FRESH FROZEN}
3. 출원번호 / 출원일자
10-2019-0006072
/
2019-01-17
4. 등록번호 / 등록일자
10-2176270-00-00
/
2020-11-03
5. 요약
개별 신선 냉동(Individual Fresh Frozen)을 이용한 닭고기 냉동 방법은 냉동 대상이 되는 원재료들을 제1 상승 컨베이어부에 투입하는 원재료 투입 단계, 상기 제1 상승 컨베이어부를 통과한 상기 원재료들이 투입 컨베이어 벨트를 통해 이송되는 원재료 배열 단계, 상기 투입 컨베이어 벨트로부터 전달 받은 상기 원재료들이 냉동부를 통해 이동하면서 급속 동결되는 개별 신선 냉동 단계, 상기 냉동부를 통과하여 냉동된 상기 원재료들 상에 분사 방식으로 표면에 수분을 공급하여 상기 원재료들의 표면에 얼음 박막을 형성하는 글레이징 단계, 상기 얼음 박막이 형성된 상기 원재료들이 개별 포장 또는 벌크 포장을 위한 경로를 선택하는 선택부를 통과하는 포장 분류 단계, 및 상기 원재료들이 상기 선택부를 통과하여 개별 포장을 위해, 자동분류 포장부에 의해 개별 포장되거나, 벌크 포장을 위해, 벌크 포장 작업대로 이송되어 벌크 포장되는 포장 단계를 포함한다. 상기 냉동부는 상기 원재료들의 종류에 따라 상기 원재료들이 상기 냉동부를 통과하는 시간을 달리 한다.
- 이전 글
- [특허] 개별 신선 냉동(Individual Fresh Frozen)을 이용한 닭고기 냉동 방법 및 장치 2024.01.15
- 다음 글
- [특허] 개별 신선 냉동(Individual Fresh Frozen)을 이용한 닭고기 냉동 방법 및 장치 2024.01.15





