[특허] 벽체 전도방지용 보강장치
관리자
2024.01.15
[특허] 벽체 전도방지용 보강장치
1. 대표도

2. 발명의 명칭
벽체 전도방지용 보강장치{reinforcement apparatus for preventing falling down of wall}
3. 출원번호 / 출원일자
10-2021-0150939
/ 2021-11-04
4. 등록번호 / 등록일자
10-2388931-00-00 / 2022-04-18
5. 요약
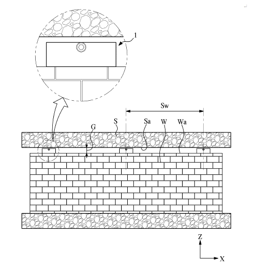
본 벽체 전도방지용 보강장치는 벽체와, 슬래브 또는 보 사이에 형성되는 갭에 배치되는 벽체 전도방지용 보강장치로서, 상부에 제 1 경사면을 갖는 제 1 쐐기유닛과, 하부에 상기 제 1 경사면과 대응되는 제 2 경사면을 갖는 제 2 쐐기유닛;를 포함한다. 제 2 쐐기유닛은, 상기 제 2 경사면을 통해 상기 제 1 쐐기유닛의 제 1 경사면을 따라 슬라이딩 이동가능하게 구성되어 상기 갭을 채우도록 구성된다.
- 이전 글
- [특허] 천장 내진 및 제진장치 2024.01.15
- 다음 글
- [특허] 앵커어셈블리 및 이를 갖는 벽체보강장치 2024.01.15





