[특허] 용매 제거 장치 및 이를 이용한 미소구체 제조 방법
관리자
2024.01.15
[특허] 용매 제거 장치 및 이를 이용한 미소구체 제조 방법
1. 대표도

2. 발명의 명칭
용매 제거 장치 및 이를 이용한 미소구체 제조 방법{SOLVENT REMOVING APPARATUS AND METHOD OF MANUFACTURING MICROSPHERE USING THE SAME}
3. 출원번호 / 출원일자
10-2021-0184474
/ 2021-12-22
4. 등록번호 / 등록일자
10-2403990-00-00
/ 2022-05-26
5. 요약
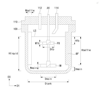
용매 제거 장치는 연속상의 제1 원료와 분산상의 제2 원료를 포함하는 에멀젼을 수용하는 용기, 상기 용기 내에서 회전하여 상기 에멀젼을 교반하는 임펠러, 및 상기 임펠러 상부에 상기 임펠러와 이격되어 위치하고, 회전하여 상기 에멀젼의 교반시 발생하는 거품(foam)을 감소시키는 폼 브레이커를 포함한다.
- 이전 글
- [특허] 예약 발송 기능을 포함하는 개인화 메시징 서비스 방법 2024.01.15
- 다음 글
- [특허] 미소구체 제조 장치 및 미소구체 제조 방법 2024.01.15





