[특허] 지질 나노 입자 제조용 칩, 이를 포함하는 지질 나노 입자 제조 시스템 및 지질 나노 입자 제조 방법
관리자
2024.01.15
[특허] 지질 나노 입자 제조용 칩, 이를 포함하는 지질 나노 입자 제조 시스템 및 지질 나노 입자 제조 방법
1. 대표도

2. 발명의 명칭
지질 나노 입자 제조용 칩, 이를 포함하는 지질 나노 입자 제조 시스템 및 지질 나노 입자 제조 방법 {Lipid nanoparticles manufacturing Chip, Lipid nanoparticles manufacturing System having the same, and Lipid nanoparticles manufacturing method}
3. 출원번호 / 출원일자
10-2022-0057190
/ 2022-05-10
4. 등록번호 / 등록일자
10-2492420-00-00
/ 2023-01-25
5. 요약
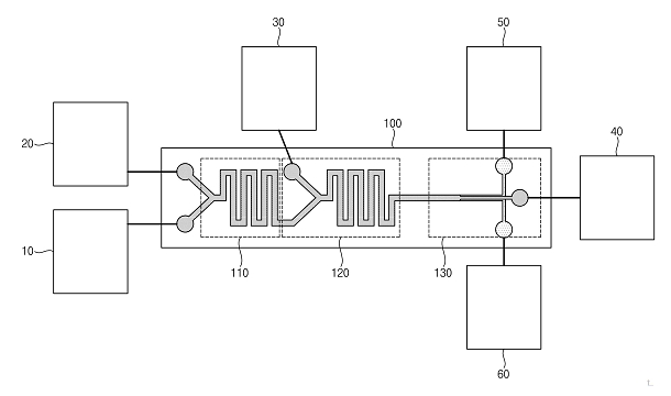
지질 나노 입자 제조용 칩은 mRNA를 포함하는 제1 원료와 지질(lipid)를 포함하는 제2 원료를 혼합하여 혼합액을 형성하는 믹서부, 상기 믹서부와 연결되고, 희석액을 이용하여 상기 혼합액을 희석하는 희석부, 및 상기 희석부에 연결되고, 희석된 혼합액으로부터 지질 나노 입자(Lipid Nanoparticles; LNP)를 농축하여 농축액을 수득하는 농축부를 포함한다.
- 이전 글
- [특허] 모터어셈블리 및 이를 갖는 청소기 2024.01.15
- 다음 글
- [특허] 전기적 연결 구조 및 그의 제조방법 2024.01.15





