[특허] 층간소음방지구조
관리자
2024.01.15
[특허] 층간소음방지구조
1. 대표도

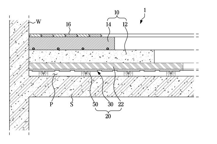
2. 발명의 명칭
층간소음방지구조{Interfloor soundproof structure}
3. 출원번호 / 출원일자
10-2022-0123444
/ 2022-09-28
4. 등록번호 / 등록일자
10-2587651-00-00
/ 2023-10-05
5. 요약
본 층간소음방지구조는 방진모듈을 포함하고, 방진모듈은 진동을 저감 또는
흡수하는 완충패널과, 완충패널을 탄성지지하는 탄성지지부를 포함한다. 완충패널
은, 패널몸체과, 패널몸체에 형성되는 완충부를 포함하고, 완충부는, 탄성지지부를
중심으로 그 주위를 따라 배열되는 복수의 확장돌기로서, 탄성지지부의 외측방향으
로 확장되게 돌출형성되는 복수의 확장돌기를 포함한다.
- 다음 글
- [특허] 모터어셈블리 및 이를 갖는 청소기 2024.01.15





