[실용신안] 개인화 메시징 서비스 시스템 및 개인화 메시징 서비스 방법
관리자
2024.01.15
[실용신안] 스크류 보강부재, 연결캡 및 이를 포함하는 스크류 보강 어셈블리
1. 대표도

2. 고안의 명칭
스크류 보강부재, 연결캡 및 이를 포함하는 스크류 보강 어셈블리{SCREW REINFORCING MEMBER, CONNECTING CAP AND SCREW REINFORCING ASSEMBLY HAVING THE SAME}
3. 출원번호 / 출원일자
20-2021-0002272 / 2021-07-19
4. 등록번호 / 등록일자
20-0494608-00-00
/ 2021-11-08
5. 요약
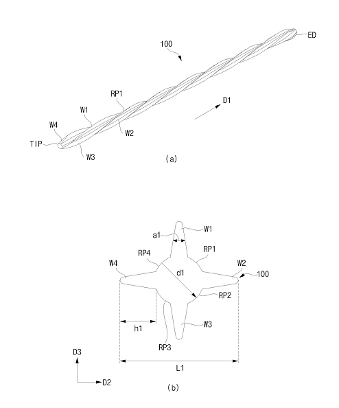
스크류 보강부재는 제1 방향으로 연장되는 중심축, 상기 중심축을 기준으로 상기 제1 방향에 수직한 방향으로 돌출되고, 상기 제1 방향을 따라 형성되는 제1 내지 제4 날개를 포함한다. 상기 제1 내지 제4 날개는 상기 제1 방향을 따라 나선 형상을 이룬다. 상기 제1 내지 제4 날개들 사이에는 제1 내지 제4 보강부가 형성되고, 상기 제1 내지 제4 보강부 각각은 상기 제1 방향을 따라 나선형태를 이룬다. 상기 제1 보강부, 상기 제2 보강부, 상기 제3 보강부 및 상기 제4 보강부의 표면은 상기 제1 방향에 수직한 단면상에서 상기 중심축을 중심으로 하는 원의 일부를 이룬다.
- 이전 글
- [특허] 발포층을 포함하는 점착 필름 2024.01.15
- 다음 글
- [특허] 개인화 메시징 서비스 시스템 및 개인화 메시징 서비스 방법 2024.01.15





